Library 10
HAMMOND ORGAN
Menu
[Page 1]
[Page 2]
[Page 3]
[Page 4]
[Page 5]
[Page 6]
[Page 7]
[Page 8]
[Page 9]
[Page 11]
[Page 12]
[Page 13]
[Page 14]
[Page 15]
[Page 16]
[Home]
HAMMOND B-3 & C-3 (1)
HAMMOND B-3 & C-3 (2)
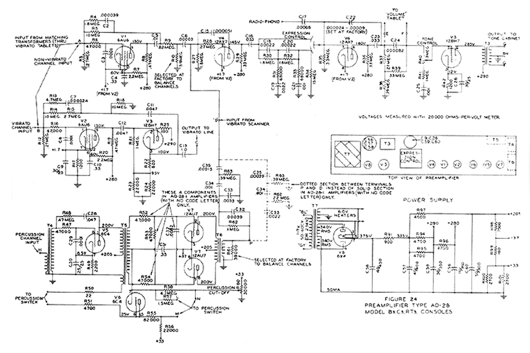
AO-28 Preamp for B-3/C-3/A-100/RT-3/D-100
AO-28 Component layout
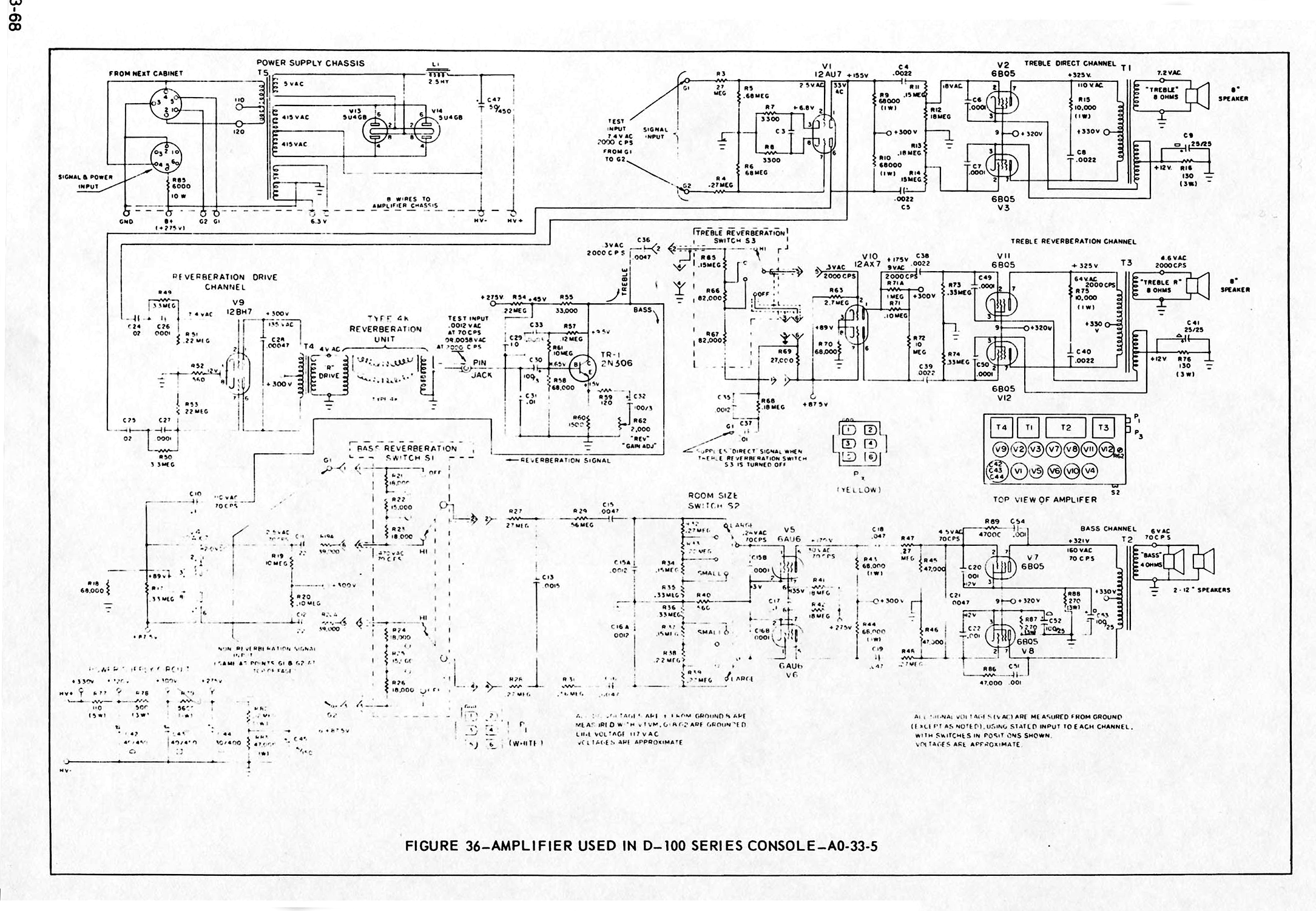
HAMMOND D-100 SERIES (1)
HAMMOND D-100 SERIES (2)
HAMMOND Porta B
HAMMOND Porta B Before
HAMMOND Porta B After
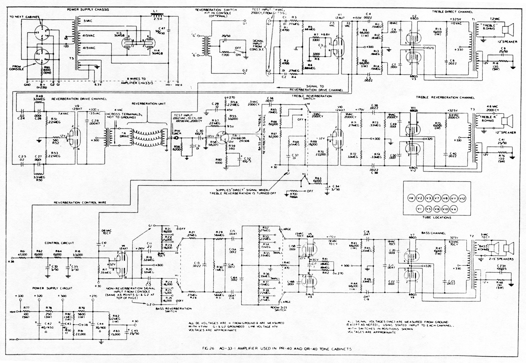
HAMMOND PR-40
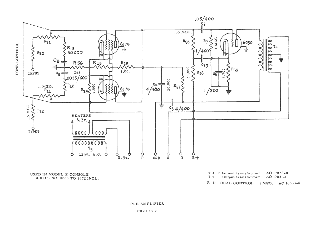
Preamp model E (serial # 8000-8472)
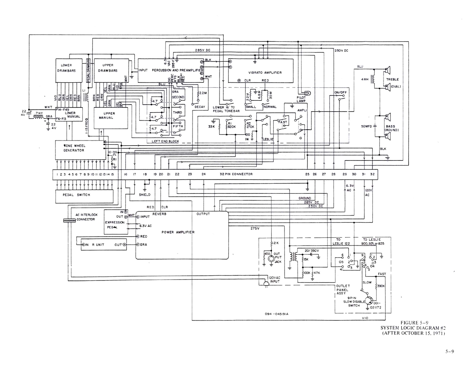
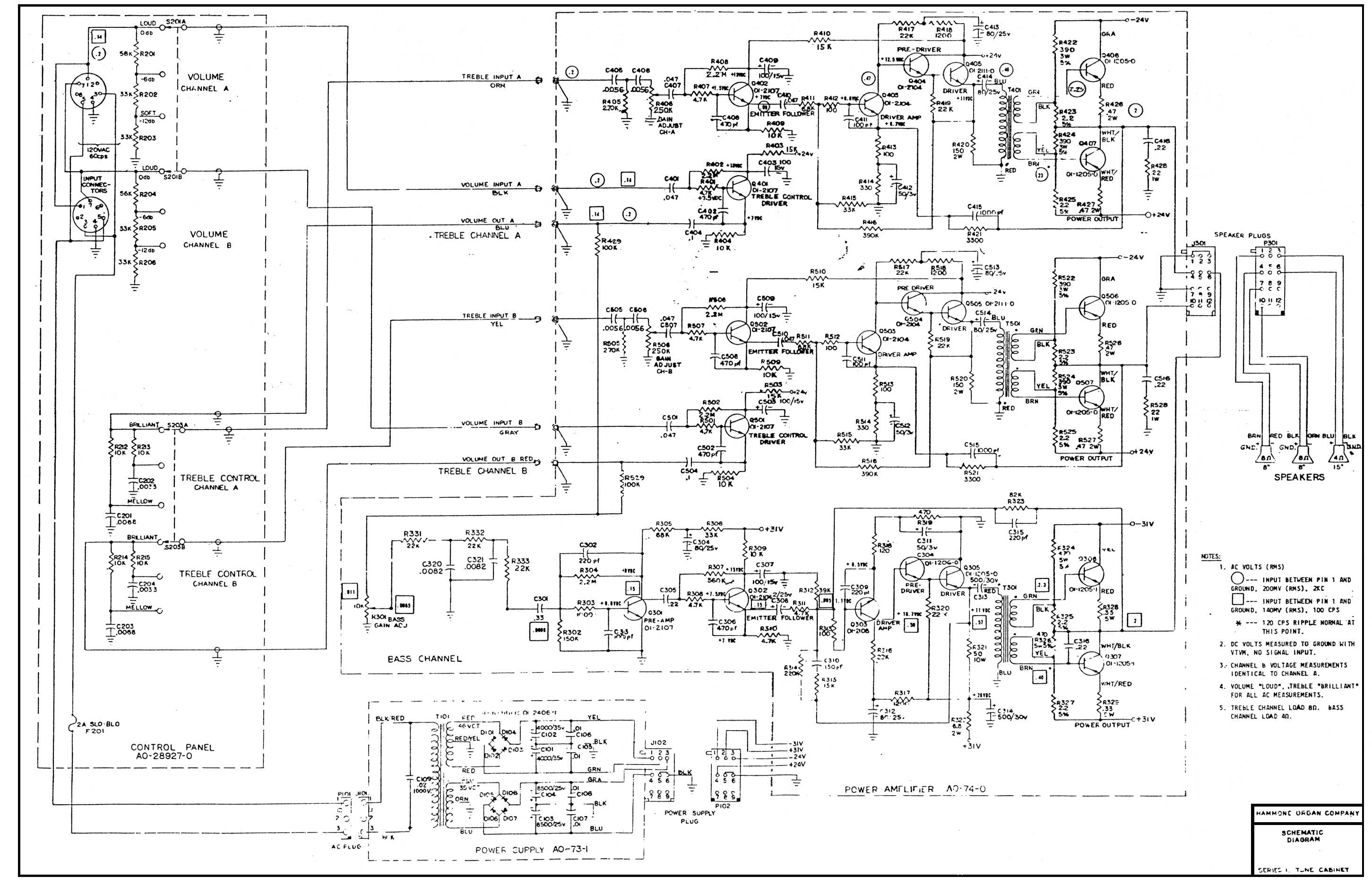
HAMMOND SERIES-10
LESLIE 122 MOTOR & REVERB AMP
Menu
[Page 1]
[Page 2]
[Page 3]
[Page 4]
[Page 5]
[Page 6]
[Page 7]
[Page 8]
[Page 9]
[Page 11]
[Page 12]
[Page 13]
[Page 14]
[Page 15]
[Page 16]
[Dave's]
[Product]
[My Memories]
[Circuit Data]
[Links]
[Home]
[Top Page]