API2520,JE990の代わりに使えるオペアンプ



左上からAPI2520
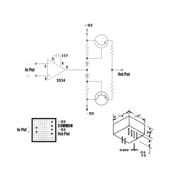
右上JE990
左下昔作ったハイブリッド
中下30年前API2520を3ヶ月かけて、分解してコピーした物
最近では2520のキットまで売られてるが、組み立てになれてないと簡単には動きません。

右下ユニバーサル基板で作ったハイブリッド
当然ディスクリートにはかなわないが代用なら

ハイブリッドの回路



[Back]